
Mary Pyo
Volume of Pyramids and Cones
Slide Duration:Table of Contents
16m 41s
- Intro0:00
- The Coordinate System0:12
- Coordinate Plane: X-axis and Y-axis0:15
- Quadrants1:02
- Origin2:00
- Ordered Pair2:17
- Coordinate Plane2:59
- Example: Writing Coordinates3:01
- Coordinate Plane, cont.4:15
- Example: Graphing & Coordinate Plane4:17
- Collinear5:58
- Extra Example 1: Writing Coordinates & Quadrants7:34
- Extra Example 2: Quadrants8:52
- Extra Example 3: Graphing & Coordinate Plane10:58
- Extra Example 4: Collinear12:50
17m 17s
- Intro0:00
- Points0:07
- Definition and Example of Points0:09
- Lines0:50
- Definition and Example of Lines0:51
- Planes2:59
- Definition and Example of Planes3:00
- Drawing and Labeling4:40
- Example 1: Drawing and Labeling4:41
- Example 2: Drawing and Labeling5:54
- Example 3: Drawing and Labeling6:41
- Example 4: Drawing and Labeling8:23
- Extra Example 1: Points, Lines and Planes10:19
- Extra Example 2: Naming Figures11:16
- Extra Example 3: Points, Lines and Planes12:35
- Extra Example 4: Draw and Label14:44
31m 31s
- Intro0:00
- Segments0:06
- Examples of Segments0:08
- Ruler Postulate1:30
- Ruler Postulate1:31
- Segment Addition Postulate5:02
- Example and Definition of Segment Addition Postulate5:03
- Segment Addition Postulate8:01
- Example 1: Segment Addition Postulate8:04
- Example 2: Segment Addition Postulate11:15
- Pythagorean Theorem12:36
- Definition of Pythagorean Theorem12:37
- Pythagorean Theorem, cont.15:49
- Example: Pythagorean Theorem15:50
- Distance Formula16:48
- Example and Definition of Distance Formula16:49
- Extra Example 1: Find Each Measure20:32
- Extra Example 2: Find the Missing Measure22:11
- Extra Example 3: Find the Distance Between the Two Points25:36
- Extra Example 4: Pythagorean Theorem29:33
42m 26s
- Intro0:00
- Definition of Midpoint0:07
- Midpoint0:10
- Midpoint Formulas1:30
- Midpoint Formula: On a Number Line1:45
- Midpoint Formula: In a Coordinate Plane2:50
- Midpoint4:40
- Example: Midpoint on a Number Line4:43
- Midpoint6:05
- Example: Midpoint in a Coordinate Plane6:06
- Midpoint8:28
- Example 18:30
- Example 213:01
- Segment Bisector15:14
- Definition and Example of Segment Bisector15:15
- Proofs17:27
- Theorem17:53
- Proof18:21
- Midpoint Theorem19:37
- Example: Proof & Midpoint Theorem19:38
- Extra Example 1: Midpoint on a Number Line23:44
- Extra Example 2: Drawing Diagrams26:25
- Extra Example 3: Midpoint29:14
- Extra Example 4: Segment Bisector33:21
42m 34s
- Intro0:00
- Angles0:05
- Angle0:07
- Ray0:23
- Opposite Rays2:09
- Angles3:22
- Example: Naming Angle3:23
- Angles6:39
- Interior, Exterior, Angle6:40
- Measure and Degrees7:38
- Protractor Postulate8:37
- Example: Protractor Postulate8:38
- Angle Addition Postulate11:41
- Example: Angle addition Postulate11:42
- Classifying Angles14:10
- Acute Angle14:16
- Right Angles14:30
- Obtuse Angle14:41
- Angle Bisector15:02
- Example: Angle Bisector15:04
- Angle Relationships16:43
- Adjacent Angles16:47
- Vertical Angles17:49
- Linear Pair19:40
- Angle Relationships20:31
- Right Angles20:32
- Supplementary Angles21:15
- Complementary Angles21:33
- Extra Example 1: Angles24:08
- Extra Example 2: Angles29:06
- Extra Example 3: Angles32:05
- Extra Example 4 Angles35:44
19m
- Intro0:00
- Inductive Reasoning0:05
- Conjecture0:06
- Inductive Reasoning0:15
- Examples0:55
- Example: Sequence0:56
- More Example: Sequence2:00
- Using Inductive Reasoning2:50
- Example: Conjecture2:51
- More Example: Conjecture3:48
- Counterexamples4:56
- Counterexample4:58
- Extra Example 1: Conjecture6:59
- Extra Example 2: Sequence and Pattern10:20
- Extra Example 3: Inductive Reasoning12:46
- Extra Example 4: Conjecture and Counterexample15:17
42m 47s
- Intro0:00
- If Then Statements0:05
- If Then Statements0:06
- Other Forms2:29
- Example: Without Then2:40
- Example: Using When3:03
- Example: Hypothesis3:24
- Identify the Hypothesis and Conclusion3:52
- Example 1: Hypothesis and Conclusion3:58
- Example 2: Hypothesis and Conclusion4:31
- Example 3: Hypothesis and Conclusion5:38
- Write in If Then Form6:16
- Example 1: Write in If Then Form6:23
- Example 2: Write in If Then Form6:57
- Example 3: Write in If Then Form7:39
- Other Statements8:40
- Other Statements8:41
- Converse Statements9:18
- Converse Statements9:20
- Converses and Counterexamples11:04
- Converses and Counterexamples11:05
- Example 1: Converses and Counterexamples12:02
- Example 2: Converses and Counterexamples15:10
- Example 3: Converses and Counterexamples17:08
- Inverse Statement19:58
- Definition and Example19:59
- Inverse Statement21:46
- Example 1: Inverse and Counterexample21:47
- Example 2: Inverse and Counterexample23:34
- Contrapositive Statement25:20
- Definition and Example25:21
- Contrapositive Statement26:58
- Example: Contrapositive Statement27:00
- Summary29:03
- Summary of Lesson29:04
- Extra Example 1: Hypothesis and Conclusion32:20
- Extra Example 2: If-Then Form33:23
- Extra Example 3: Converse, Inverse, and Contrapositive34:54
- Extra Example 4: Converse, Inverse, and Contrapositive37:56
17m 24s
- Intro0:00
- What are Postulates?0:09
- Definition of Postulates0:10
- Postulates1:22
- Postulate 1: Two Points1:23
- Postulate 2: Three Points2:02
- Postulate 3: Line2:45
- Postulates, cont..3:08
- Postulate 4: Plane3:09
- Postulate 5: Two Points in a Plane3:53
- Postulates, cont..4:46
- Postulate 6: Two Lines Intersect4:47
- Postulate 7: Two Plane Intersect5:28
- Using the Postulates6:34
- Examples: True or False6:35
- Using the Postulates10:18
- Examples: True or False10:19
- Extra Example 1: Always, Sometimes, or Never12:22
- Extra Example 2: Always, Sometimes, or Never13:15
- Extra Example 3: Always, Sometimes, or Never14:16
- Extra Example 4: Always, Sometimes, or Never15:03
36m 3s
- Intro0:00
- Deductive Reasoning0:06
- Definition of Deductive Reasoning0:07
- Inductive vs. Deductive2:51
- Inductive Reasoning2:52
- Deductive reasoning3:19
- Law of Detachment3:47
- Law of Detachment3:48
- Examples of Law of Detachment4:31
- Law of Syllogism7:32
- Law of Syllogism7:33
- Example 1: Making a Conclusion9:02
- Example 2: Making a Conclusion12:54
- Using Laws of Logic14:12
- Example 1: Determine the Logic14:42
- Example 2: Determine the Logic17:02
- Using Laws of Logic, cont.18:47
- Example 3: Determine the Logic19:03
- Example 4: Determine the Logic20:56
- Extra Example 1: Determine the Conclusion and Law22:12
- Extra Example 2: Determine the Conclusion and Law25:39
- Extra Example 3: Determine the Logic and Law29:50
- Extra Example 4: Determine the Logic and Law31:27
44m 31s
- Intro0:00
- Properties of Equality0:10
- Addition Property of Equality0:28
- Subtraction Property of Equality1:10
- Multiplication Property of Equality1:41
- Division Property of Equality1:55
- Addition Property of Equality Using Angles2:46
- Properties of Equality, cont.4:10
- Reflexive Property of Equality4:11
- Symmetric Property of Equality5:24
- Transitive Property of Equality6:10
- Properties of Equality, cont.7:04
- Substitution Property of Equality7:05
- Distributive Property of Equality8:34
- Two Column Proof9:40
- Example: Two Column Proof9:46
- Proof Example 116:13
- Proof Example 223:49
- Proof Example 330:33
- Extra Example 1: Name the Property of Equality38:07
- Extra Example 2: Name the Property of Equality40:16
- Extra Example 3: Name the Property of Equality41:35
- Extra Example 4: Name the Property of Equality43:02
41m 2s
- Intro0:00
- Good Proofs0:12
- Five Essential Parts0:13
- Proof Reasons1:38
- Undefined1:40
- Definitions2:06
- Postulates2:42
- Previously Proven Theorems3:24
- Congruence of Segments4:10
- Theorem: Congruence of Segments4:12
- Proof Example10:16
- Proof: Congruence of Segments10:17
- Setting Up Proofs19:13
- Example: Two Segments with Equal Measures19:15
- Setting Up Proofs21:48
- Example: Vertical Angles are Congruent21:50
- Setting Up Proofs23:59
- Example: Segment of a Triangle24:00
- Extra Example 1: Congruence of Segments27:03
- Extra Example 2: Setting Up Proofs28:50
- Extra Example 3: Setting Up Proofs30:55
- Extra Example 4: Two-Column Proof33:11
33m 37s
- Intro0:00
- Supplement Theorem0:05
- Supplementary Angles0:06
- Congruence of Angles2:37
- Proof: Congruence of Angles2:38
- Angle Theorems6:54
- Angle Theorem 1: Supplementary Angles6:55
- Angle Theorem 2: Complementary Angles10:25
- Angle Theorems11:32
- Angle Theorem 3: Right Angles11:35
- Angle Theorem 4: Vertical Angles12:09
- Angle Theorem 5: Perpendicular Lines12:57
- Using Angle Theorems13:45
- Example 1: Always, Sometimes, or Never13:50
- Example 2: Always, Sometimes, or Never14:28
- Example 3: Always, Sometimes, or Never16:21
- Extra Example 1: Always, Sometimes, or Never16:53
- Extra Example 2: Find the Measure of Each Angle18:55
- Extra Example 3: Find the Measure of Each Angle25:03
- Extra Example 4: Two-Column Proof27:08
37m 35s
- Intro0:00
- Lines0:06
- Parallel Lines0:09
- Skew Lines2:02
- Transversal3:42
- Angles Formed by a Transversal4:28
- Interior Angles5:53
- Exterior Angles6:09
- Consecutive Interior Angles7:04
- Alternate Exterior Angles9:47
- Alternate Interior Angles11:22
- Corresponding Angles12:27
- Angles Formed by a Transversal15:29
- Relationship Between Angles15:30
- Extra Example 1: Intersecting, Parallel, or Skew19:26
- Extra Example 2: Draw a Diagram21:37
- Extra Example 3: Name the Figures24:12
- Extra Example 4: Angles Formed by a Transversal28:38
41m 53s
- Intro0:00
- Corresponding Angles Postulate0:05
- Corresponding Angles Postulate0:06
- Alternate Interior Angles Theorem3:05
- Alternate Interior Angles Theorem3:07
- Consecutive Interior Angles Theorem5:16
- Consecutive Interior Angles Theorem5:17
- Alternate Exterior Angles Theorem6:42
- Alternate Exterior Angles Theorem6:43
- Parallel Lines Cut by a Transversal7:18
- Example: Parallel Lines Cut by a Transversal7:19
- Perpendicular Transversal Theorem14:54
- Perpendicular Transversal Theorem14:55
- Extra Example 1: State the Postulate or Theorem16:37
- Extra Example 2: Find the Measure of the Numbered Angle18:53
- Extra Example 3: Find the Measure of Each Angle25:13
- Extra Example 4: Find the Values of x, y, and z36:26
44m 6s
- Intro0:00
- Definition of Slope0:06
- Slope Equation0:13
- Slope of a Line3:45
- Example: Find the Slope of a Line3:47
- Slope of a Line8:38
- More Example: Find the Slope of a Line8:40
- Slope Postulates12:32
- Proving Slope Postulates12:33
- Parallel or Perpendicular Lines17:23
- Example: Parallel or Perpendicular Lines17:24
- Using Slope Formula20:02
- Example: Using Slope Formula20:03
- Extra Example 1: Slope of a Line25:10
- Extra Example 2: Slope of a Line26:31
- Extra Example 3: Graph the Line34:11
- Extra Example 4: Using the Slope Formula38:50
25m 55s
- Intro0:00
- Postulates0:06
- Postulate 1: Parallel Lines0:21
- Postulate 2: Parallel Lines2:16
- Parallel Postulate3:28
- Definition and Example of Parallel Postulate3:29
- Theorems4:29
- Theorem 1: Parallel Lines4:40
- Theorem 2: Parallel Lines5:37
- Theorems, cont.6:10
- Theorem 3: Parallel Lines6:11
- Extra Example 1: Determine Parallel Lines6:56
- Extra Example 2: Find the Value of x11:42
- Extra Example 3: Opposite Sides are Parallel14:48
- Extra Example 4: Proving Parallel Lines20:42
19m 48s
- Intro0:00
- Distance Between a Points and Line0:07
- Definition and Example0:08
- Distance Between Parallel Lines1:51
- Definition and Example1:52
- Extra Example 1: Drawing a Segment to Represent Distance3:02
- Extra Example 2: Drawing a Segment to Represent Distance4:27
- Extra Example 3: Graph, Plot, and Construct a Perpendicular Segment5:13
- Extra Example 4: Distance Between Two Parallel Lines15:37
28m 43s
- Intro0:00
- Triangles0:09
- Triangle: A Three-Sided Polygon0:10
- Sides1:00
- Vertices1:22
- Angles1:56
- Classifying Triangles by Angles2:59
- Acute Triangle3:19
- Obtuse Triangle4:08
- Right Triangle4:44
- Equiangular Triangle5:38
- Definition and Example of an Equiangular Triangle5:39
- Classifying Triangles by Sides6:57
- Scalene Triangle7:17
- Isosceles Triangle7:57
- Equilateral Triangle8:12
- Isosceles Triangle8:58
- Labeling Isosceles Triangle9:00
- Labeling Right Triangle10:44
- Isosceles Triangle11:10
- Example: Find x, AB, BC, and AC11:11
- Extra Example 1: Classify Each Triangle13:45
- Extra Example 2: Always, Sometimes, or Never16:28
- Extra Example 3: Find All the Sides of the Isosceles Triangle20:29
- Extra Example 4: Distance Formula and Triangle22:29
44m 43s
- Intro0:00
- Angle Sum Theorem0:09
- Angle Sum Theorem for Triangle0:11
- Using Angle Sum Theorem4:06
- Find the Measure of the Missing Angle4:07
- Third Angle Theorem4:58
- Example: Third Angle Theorem4:59
- Exterior Angle Theorem7:58
- Example: Exterior Angle Theorem8:00
- Flow Proof of Exterior Angle Theorem15:14
- Flow Proof of Exterior Angle Theorem15:17
- Triangle Corollaries27:21
- Triangle Corollary 127:50
- Triangle Corollary 230:42
- Extra Example 1: Find the Value of x32:55
- Extra Example 2: Find the Value of x34:20
- Extra Example 3: Find the Measure of the Angle35:38
- Extra Example 4: Find the Measure of Each Numbered Angle39:00
26m 46s
- Intro0:00
- Congruent Triangles0:15
- Example of Congruent Triangles0:17
- Corresponding Parts3:39
- Corresponding Angles and Sides of Triangles3:40
- Definition of Congruent Triangles11:24
- Definition of Congruent Triangles11:25
- Triangle Congruence16:37
- Congruence of Triangles16:38
- Extra Example 1: Congruence Statement18:24
- Extra Example 2: Congruence Statement21:26
- Extra Example 3: Draw and Label the Figure23:09
- Extra Example 4: Drawing Triangles24:04
47m 51s
- Intro0:00
- SSS Postulate0:18
- Side-Side-Side Postulate0:27
- SAS Postulate2:26
- Side-Angle-Side Postulate2:29
- SAS Postulate3:57
- Proof Example3:58
- ASA Postulate11:47
- Angle-Side-Angle Postulate11:53
- AAS Theorem14:13
- Angle-Angle-Side Theorem14:14
- Methods Overview16:16
- Methods Overview16:17
- SSS16:33
- SAS17:06
- ASA17:50
- AAS18:17
- CPCTC19:14
- Extra Example 1:Proving Triangles are Congruent21:29
- Extra Example 2: Proof25:40
- Extra Example 3: Proof30:41
- Extra Example 4: Proof38:41
27m 53s
- Intro0:00
- Isosceles Triangle Theorem0:07
- Isosceles Triangle Theorem0:09
- Isosceles Triangle Theorem2:26
- Example: Using the Isosceles Triangle Theorem2:27
- Isosceles Triangle Theorem Converse3:29
- Isosceles Triangle Theorem Converse3:30
- Equilateral Triangle Theorem Corollaries4:30
- Equilateral Triangle Theorem Corollary 14:59
- Equilateral Triangle Theorem Corollary 25:55
- Extra Example 1: Find the Value of x7:08
- Extra Example 2: Find the Value of x10:04
- Extra Example 3: Proof14:04
- Extra Example 4: Proof22:41
43m 44s
- Intro0:00
- Perpendicular Bisector0:06
- Perpendicular Bisector0:07
- Perpendicular Bisector4:07
- Perpendicular Bisector Theorems4:08
- Median6:30
- Definition of Median6:31
- Median9:41
- Example: Median9:42
- Altitude12:22
- Definition of Altitude12:23
- Angle Bisector14:33
- Definition of Angle Bisector14:34
- Angle Bisector16:41
- Angle Bisector Theorems16:42
- Special Segments Overview18:57
- Perpendicular Bisector19:04
- Median19:32
- Altitude19:49
- Angle Bisector20:02
- Examples: Special Segments20:18
- Extra Example 1: Draw and Label22:36
- Extra Example 2: Draw the Altitudes for Each Triangle24:37
- Extra Example 3: Perpendicular Bisector27:57
- Extra Example 4: Draw, Label, and Write Proof34:33
26m 34s
- Intro0:00
- LL Theorem0:21
- Leg-Leg Theorem0:25
- HA Theorem2:23
- Hypotenuse-Angle Theorem2:24
- LA Theorem4:49
- Leg-Angle Theorem4:50
- LA Theorem6:18
- Example: Find x and y6:19
- HL Postulate8:22
- Hypotenuse-Leg Postulate8:23
- Extra Example 1: LA Theorem & HL Postulate10:57
- Extra Example 2: Find x So That Each Pair of Triangles is Congruent14:15
- Extra Example 3: Two-column Proof17:02
- Extra Example 4: Two-column Proof21:01
33m 30s
- Intro0:00
- Writing an Indirect Proof0:09
- Step 10:49
- Step 22:32
- Step 33:00
- Indirect Proof4:30
- Example: 2 + 6 = 85:00
- Example: The Suspect is Guilty5:40
- Example: Measure of Angle A < Measure of Angle B6:06
- Definition of Inequality7:47
- Definition of Inequality & Example7:48
- Properties of Inequality9:55
- Comparison Property9:58
- Transitive Property10:33
- Addition and Subtraction Properties12:01
- Multiplication and Division Properties13:07
- Exterior Angle Inequality Theorem14:12
- Example: Exterior Angle Inequality Theorem14:13
- Extra Example 1: Draw a Diagram for the Statement18:32
- Extra Example 2: Name the Property for Each Statement19:56
- Extra Example 3: State the Assumption21:22
- Extra Example 4: Write an Indirect Proof25:39
17m 26s
- Intro0:00
- Side to Angles0:10
- If One Side of a Triangle is Longer Than Another Side0:11
- Converse: Angles to Sides1:57
- If One Angle of a Triangle Has a Greater Measure Than Another Angle1:58
- Extra Example 1: Name the Angles in the Triangle From Least to Greatest2:38
- Extra Example 2: Find the Longest and Shortest Segment in the Triangle3:47
- Extra Example 3: Angles and Sides of a Triangle4:51
- Extra Example 4: Two-column Proof9:08
28m 11s
- Intro0:00
- Triangle Inequality Theorem0:05
- Triangle Inequality Theorem0:06
- Triangle Inequality Theorem4:22
- Example 1: Triangle Inequality Theorem4:23
- Example 2: Triangle Inequality Theorem9:40
- Extra Example 1: Determine if the Three Numbers can Represent the Sides of a Triangle12:00
- Extra Example 2: Finding the Third Side of a Triangle13:34
- Extra Example 3: Always True, Sometimes True, or Never True18:18
- Extra Example 4: Triangle and Vertices22:36
29m 36s
- Intro0:00
- SAS Inequality Theorem0:06
- SAS Inequality Theorem & Example0:25
- SSS Inequality Theorem4:33
- SSS Inequality Theorem & Example4:34
- Extra Example 1: Write an Inequality Comparing the Segments6:08
- Extra Example 2: Determine if the Statement is True9:52
- Extra Example 3: Write an Inequality for x14:20
- Extra Example 4: Two-column Proof17:44
29m 11s
- Intro0:00
- Quadrilaterals0:06
- Four-sided Polygons0:08
- Non Examples of Quadrilaterals0:47
- Parallelograms1:35
- Parallelograms1:36
- Properties of Parallelograms4:28
- Opposite Sides of a Parallelogram are Congruent4:29
- Opposite Angles of a Parallelogram are Congruent5:49
- Angles and Diagonals6:24
- Consecutive Angles in a Parallelogram are Supplementary6:25
- The Diagonals of a Parallelogram Bisect Each Other8:42
- Extra Example 1: Complete Each Statement About the Parallelogram10:26
- Extra Example 2: Find the Values of x, y, and z of the Parallelogram13:21
- Extra Example 3: Find the Distance of Each Side to Verify the Parallelogram16:35
- Extra Example 4: Slope of Parallelogram23:15
42m 43s
- Intro0:00
- Parallelogram Theorems0:09
- Theorem 10:20
- Theorem 21:50
- Parallelogram Theorems, Cont.3:10
- Theorem 33:11
- Theorem 44:15
- Proving Parallelogram6:21
- Example: Determine if Quadrilateral ABCD is a Parallelogram6:22
- Summary14:01
- Both Pairs of Opposite Sides are Parallel14:14
- Both Pairs of Opposite Sides are Congruent15:09
- Both Pairs of Opposite Angles are Congruent15:24
- Diagonals Bisect Each Other15:44
- A Pair of Opposite Sides is Both Parallel and Congruent16:13
- Extra Example 1: Determine if Each Quadrilateral is a Parallelogram16:54
- Extra Example 2: Find the Value of x and y20:23
- Extra Example 3: Determine if the Quadrilateral ABCD is a Parallelogram24:05
- Extra Example 4: Two-column Proof30:28
29m 47s
- Intro0:00
- Rectangles0:03
- Definition of Rectangles0:04
- Diagonals of Rectangles2:52
- Rectangles: Diagonals Property 12:53
- Rectangles: Diagonals Property 23:30
- Proving a Rectangle4:40
- Example: Determine Whether Parallelogram ABCD is a Rectangle4:41
- Rectangles Summary9:22
- Opposite Sides are Congruent and Parallel9:40
- Opposite Angles are Congruent9:51
- Consecutive Angles are Supplementary9:58
- Diagonals are Congruent and Bisect Each Other10:05
- All Four Angles are Right Angles10:40
- Extra Example 1: Find the Value of x11:03
- Extra Example 2: Name All Congruent Sides and Angles13:52
- Extra Example 3: Always, Sometimes, or Never True19:39
- Extra Example 4: Determine if ABCD is a Rectangle26:45
39m 14s
- Intro0:00
- Rhombus0:09
- Definition of a Rhombus0:10
- Diagonals of a Rhombus2:03
- Rhombus: Diagonals Property 12:21
- Rhombus: Diagonals Property 23:49
- Rhombus: Diagonals Property 34:36
- Rhombus6:17
- Example: Use the Rhombus to Find the Missing Value6:18
- Square8:17
- Definition of a Square8:20
- Summary Chart11:06
- Parallelogram11:07
- Rectangle12:56
- Rhombus13:54
- Square14:44
- Extra Example 1: Diagonal Property15:44
- Extra Example 2: Use Rhombus ABCD to Find the Missing Value19:39
- Extra Example 3: Always, Sometimes, or Never True23:06
- Extra Example 4: Determine the Quadrilateral28:02
30m 48s
- Intro0:00
- Trapezoid0:10
- Definition of Trapezoid0:12
- Isosceles Trapezoid2:57
- Base Angles of an Isosceles Trapezoid2:58
- Diagonals of an Isosceles Trapezoid4:05
- Median of a Trapezoid4:26
- Median of a Trapezoid4:27
- Median of a Trapezoid6:41
- Median Formula7:00
- Kite8:28
- Definition of a Kite8:29
- Quadrilaterals Summary11:19
- A Quadrilateral with Two Pairs of Adjacent Congruent Sides11:20
- Extra Example 1: Isosceles Trapezoid14:50
- Extra Example 2: Median of Trapezoid18:28
- Extra Example 3: Always, Sometimes, or Never24:13
- Extra Example 4: Determine if the Figure is a Trapezoid26:49
20m 10s
- Intro0:00
- Ratio0:05
- Definition and Examples of Writing Ratio0:06
- Proportion2:05
- Definition of Proportion2:06
- Examples of Proportion2:29
- Using Ratio5:53
- Example: Ratio5:54
- Extra Example 1: Find Three Ratios Equivalent to 2/59:28
- Extra Example 2: Proportion and Cross Products10:32
- Extra Example 3: Express Each Ratio as a Fraction13:18
- Extra Example 4: Fin the Measure of a 3:4:5 Triangle17:26
27m 53s
- Intro0:00
- Similar Polygons0:05
- Definition of Similar Polygons0:06
- Example of Similar Polygons2:32
- Scale Factor4:26
- Scale Factor: Definition and Example4:27
- Extra Example 1: Determine if Each Pair of Figures is Similar7:03
- Extra Example 2: Find the Values of x and y11:33
- Extra Example 3: Similar Triangles19:57
- Extra Example 4: Draw Two Similar Figures23:36
34m 10s
- Intro0:00
- AA Similarity0:10
- Definition of AA Similarity0:20
- Example of AA Similarity2:32
- SSS Similarity4:46
- Definition of SSS Similarity4:47
- Example of SSS Similarity6:00
- SAS Similarity8:04
- Definition of SAS Similarity8:05
- Example of SAS Similarity9:12
- Extra Example 1: Determine Whether Each Pair of Triangles is Similar10:59
- Extra Example 2: Determine Which Triangles are Similar16:08
- Extra Example 3: Determine if the Statement is True or False23:11
- Extra Example 4: Write Two-Column Proof26:25
24m 7s
- Intro0:00
- Triangle Proportionality0:07
- Definition of Triangle Proportionality0:08
- Example of Triangle Proportionality0:51
- Triangle Proportionality Converse2:19
- Triangle Proportionality Converse2:20
- Triangle Mid-segment3:42
- Triangle Mid-segment: Definition and Example3:43
- Parallel Lines and Transversal6:51
- Parallel Lines and Transversal6:52
- Extra Example 1: Complete Each Statement8:59
- Extra Example 2: Determine if the Statement is True or False12:28
- Extra Example 3: Find the Value of x and y15:35
- Extra Example 4: Find Midpoints of a Triangle20:43
27m 6s
- Intro0:00
- Proportional Perimeters0:09
- Proportional Perimeters: Definition and Example0:10
- Similar Altitudes2:23
- Similar Altitudes: Definition and Example2:24
- Similar Angle Bisectors4:50
- Similar Angle Bisectors: Definition and Example4:51
- Similar Medians6:05
- Similar Medians: Definition and Example6:06
- Angle Bisector Theorem7:33
- Angle Bisector Theorem7:34
- Extra Example 1: Parts of Similar Triangles10:52
- Extra Example 2: Parts of Similar Triangles14:57
- Extra Example 3: Parts of Similar Triangles19:27
- Extra Example 4: Find the Perimeter of Triangle ABC23:14
21m 14s
- Intro0:00
- Pythagorean Theorem0:05
- Pythagorean Theorem & Example0:06
- Pythagorean Converse1:20
- Pythagorean Converse & Example1:21
- Pythagorean Triple2:42
- Pythagorean Triple2:43
- Extra Example 1: Find the Missing Side4:59
- Extra Example 2: Determine Right Triangle7:40
- Extra Example 3: Determine Pythagorean Triple11:30
- Extra Example 4: Vertices and Right Triangle14:29
40m 59s
- Intro0:00
- Geometric Mean0:04
- Geometric Mean & Example0:05
- Similar Triangles4:32
- Similar Triangles4:33
- Geometric Mean-Altitude11:10
- Geometric Mean-Altitude & Example11:11
- Geometric Mean-Leg14:47
- Geometric Mean-Leg & Example14:18
- Extra Example 1: Geometric Mean Between Each Pair of Numbers20:10
- Extra Example 2: Similar Triangles23:46
- Extra Example 3: Geometric Mean of Triangles28:30
- Extra Example 4: Geometric Mean of Triangles36:58
37m 57s
- Intro0:00
- 45-45-90 Triangles0:06
- Definition of 45-45-90 Triangles0:25
- 45-45-90 Triangles5:51
- Example: Find n5:52
- 30-60-90 Triangles8:59
- Definition of 30-60-90 Triangles9:00
- 30-60-90 Triangles12:25
- Example: Find n12:26
- Extra Example 1: Special Right Triangles15:08
- Extra Example 2: Special Right Triangles18:22
- Extra Example 3: Word Problems & Special Triangles27:40
- Extra Example 4: Hexagon & Special Triangles33:51
40m 37s
- Intro0:00
- Trigonometric Ratios0:08
- Definition of Trigonometry0:13
- Sine (sin), Cosine (cos), & Tangent (tan)0:50
- Trigonometric Ratios3:04
- Trig Functions3:05
- Inverse Trig Functions5:02
- SOHCAHTOA8:16
- sin x9:07
- cos x10:00
- tan x10:32
- Example: SOHCAHTOA & Triangle12:10
- Extra Example 1: Find the Value of Each Ratio or Angle Measure14:36
- Extra Example 2: Find Sin, Cos, and Tan18:51
- Extra Example 3: Find the Value of x Using SOHCAHTOA22:55
- Extra Example 4: Trigonometric Ratios in Right Triangles32:13
21m 4s
- Intro0:00
- Angle of Elevation0:10
- Definition of Angle of Elevation & Example0:11
- Angle of Depression1:19
- Definition of Angle of Depression & Example1:20
- Extra Example 1: Name the Angle of Elevation and Depression2:22
- Extra Example 2: Word Problem & Angle of Depression4:41
- Extra Example 3: Word Problem & Angle of Elevation14:02
- Extra Example 4: Find the Missing Measure18:10
35m 25s
- Intro0:00
- Law of Sines0:20
- Law of Sines0:21
- Law of Sines3:34
- Example: Find b3:35
- Solving the Triangle9:19
- Example: Using the Law of Sines to Solve Triangle9:20
- Extra Example 1: Law of Sines and Triangle17:43
- Extra Example 2: Law of Sines and Triangle20:06
- Extra Example 3: Law of Sines and Triangle23:54
- Extra Example 4: Law of Sines and Triangle28:59
52m 43s
- Intro0:00
- Law of Cosines0:35
- Law of Cosines0:36
- Law of Cosines6:22
- Use the Law of Cosines When Both are True6:23
- Law of Cosines8:35
- Example: Law of Cosines8:36
- Extra Example 1: Law of Sines or Law of Cosines?13:35
- Extra Example 2: Use the Law of Cosines to Find the Missing Measure17:02
- Extra Example 3: Solve the Triangle30:49
- Extra Example 4: Find the Measure of Each Diagonal of the Parallelogram41:39
22m 43s
- Intro0:00
- Segments in a Circle0:10
- Circle0:11
- Chord0:59
- Diameter1:32
- Radius2:07
- Secant2:17
- Tangent3:10
- Circumference3:56
- Introduction to Circumference3:57
- Example: Find the Circumference of the Circle5:09
- Circumference6:40
- Example: Find the Circumference of the Circle6:41
- Extra Example 1: Use the Circle to Answer the Following9:10
- Extra Example 2: Find the Missing Measure12:53
- Extra Example 3: Given the Circumference, Find the Perimeter of the Triangle15:51
- Extra Example 4: Find the Circumference of Each Circle19:24
35m 24s
- Intro0:00
- Central Angle0:06
- Definition of Central Angle0:07
- Sum of Central Angles1:17
- Sum of Central Angles1:18
- Arcs2:27
- Minor Arc2:30
- Major Arc3:47
- Arc Measure5:24
- Measure of Minor Arc5:24
- Measure of Major Arc6:53
- Measure of a Semicircle7:11
- Arc Addition Postulate8:25
- Arc Addition Postulate8:26
- Arc Length9:43
- Arc Length and Example9:44
- Concentric Circles16:05
- Concentric Circles16:06
- Congruent Circles and Arcs17:50
- Congruent Circles17:51
- Congruent Arcs18:47
- Extra Example 1: Minor Arc, Major Arc, and Semicircle20:14
- Extra Example 2: Measure and Length of Arc22:52
- Extra Example 3: Congruent Arcs25:48
- Extra Example 4: Angles and Arcs30:33
21m 51s
- Intro0:00
- Arcs and Chords0:07
- Arc of the Chord0:08
- Theorem 1: Congruent Minor Arcs1:01
- Inscribed Polygon2:10
- Inscribed Polygon2:11
- Arcs and Chords3:18
- Theorem 2: When a Diameter is Perpendicular to a Chord3:19
- Arcs and Chords5:05
- Theorem 3: Congruent Chords5:06
- Extra Example 1: Congruent Arcs10:35
- Extra Example 2: Length of Arc13:50
- Extra Example 3: Arcs and Chords17:09
- Extra Example 4: Arcs and Chords19:45
27m 53s
- Intro0:00
- Inscribed Angles0:07
- Definition of Inscribed Angles0:08
- Inscribed Angles0:58
- Inscribed Angle Theorem 10:59
- Inscribed Angles3:29
- Inscribed Angle Theorem 23:30
- Inscribed Angles4:38
- Inscribed Angle Theorem 34:39
- Inscribed Quadrilateral5:50
- Inscribed Quadrilateral5:51
- Extra Example 1: Central Angle, Inscribed Angle, and Intercepted Arc7:02
- Extra Example 2: Inscribed Angles9:24
- Extra Example 3: Inscribed Angles14:00
- Extra Example 4: Complete the Proof17:58
26m 16s
- Intro0:00
- Tangent Theorems0:04
- Tangent Theorem 10:05
- Tangent Theorem 1 Converse0:55
- Common Tangents1:34
- Common External Tangent2:12
- Common Internal Tangent2:30
- Tangent Segments3:08
- Tangent Segments3:09
- Circumscribed Polygons4:11
- Circumscribed Polygons4:12
- Extra Example 1: Tangents & Circumscribed Polygons5:50
- Extra Example 2: Tangents & Circumscribed Polygons8:35
- Extra Example 3: Tangents & Circumscribed Polygons11:50
- Extra Example 4: Tangents & Circumscribed Polygons15:43
27m 50s
- Intro0:00
- Secant0:08
- Secant0:09
- Secant and Tangent0:49
- Secant and Tangent0:50
- Interior Angles2:56
- Secants & Interior Angles2:57
- Exterior Angles7:21
- Secants & Exterior Angles7:22
- Extra Example 1: Secants, Tangents, & Angle Measures10:53
- Extra Example 2: Secants, Tangents, & Angle Measures13:31
- Extra Example 3: Secants, Tangents, & Angle Measures19:54
- Extra Example 4: Secants, Tangents, & Angle Measures22:29
23m 8s
- Intro0:00
- Chord Segments0:05
- Chord Segments0:06
- Secant Segments1:36
- Secant Segments1:37
- Tangent and Secant Segments4:10
- Tangent and Secant Segments4:11
- Extra Example 1: Special Segments in a Circle5:53
- Extra Example 2: Special Segments in a Circle7:58
- Extra Example 3: Special Segments in a Circle11:24
- Extra Example 4: Special Segments in a Circle18:09
27m 1s
- Intro0:00
- Equation of a Circle0:06
- Standard Equation of a Circle0:07
- Example 1: Equation of a Circle0:57
- Example 2: Equation of a Circle1:36
- Extra Example 1: Determine the Coordinates of the Center and the Radius4:56
- Extra Example 2: Write an Equation Based on the Given Information7:53
- Extra Example 3: Graph Each Circle16:48
- Extra Example 4: Write the Equation of Each Circle19:17
27m 24s
- Intro0:00
- Polygons0:10
- Polygon vs. Not Polygon0:18
- Convex and Concave1:46
- Convex vs. Concave Polygon1:52
- Regular Polygon4:04
- Regular Polygon4:05
- Interior Angle Sum Theorem4:53
- Triangle5:03
- Quadrilateral6:05
- Pentagon6:38
- Hexagon7:59
- 20-Gon9:36
- Exterior Angle Sum Theorem12:04
- Exterior Angle Sum Theorem12:05
- Extra Example 1: Drawing Polygons13:51
- Extra Example 2: Convex Polygon15:16
- Extra Example 3: Exterior Angle Sum Theorem18:21
- Extra Example 4: Interior Angle Sum Theorem22:20
17m 46s
- Intro0:00
- Parallelograms0:06
- Definition and Area Formula0:07
- Area of Figure2:00
- Area of Figure2:01
- Extra Example 1:Find the Area of the Shaded Area3:14
- Extra Example 2: Find the Height and Area of the Parallelogram6:00
- Extra Example 3: Find the Area of the Parallelogram Given Coordinates and Vertices10:11
- Extra Example 4: Find the Area of the Figure14:31
20m 31s
- Intro0:00
- Area of a Triangle0:06
- Area of a Triangle: Formula and Example0:07
- Area of a Trapezoid2:31
- Area of a Trapezoid: Formula2:32
- Area of a Trapezoid: Example6:55
- Area of a Rhombus8:05
- Area of a Rhombus: Formula and Example8:06
- Extra Example 1: Find the Area of the Polygon9:51
- Extra Example 2: Find the Area of the Figure11:19
- Extra Example 3: Find the Area of the Figure14:16
- Extra Example 4: Find the Height of the Trapezoid18:10
36m 43s
- Intro0:00
- Regular Polygon0:08
- SOHCAHTOA0:54
- 30-60-90 Triangle1:52
- 45-45-90 Triangle2:40
- Area of a Regular Polygon3:39
- Area of a Regular Polygon3:40
- Are of a Circle7:55
- Are of a Circle7:56
- Extra Example 1: Find the Area of the Regular Polygon8:22
- Extra Example 2: Find the Area of the Regular Polygon16:48
- Extra Example 3: Find the Area of the Shaded Region24:11
- Extra Example 4: Find the Area of the Shaded Region32:24
18m 17s
- Intro0:00
- Perimeter of Similar Figures0:08
- Example: Scale Factor & Perimeter of Similar Figures0:09
- Area of Similar Figures2:44
- Example:Scale Factor & Area of Similar Figures2:55
- Extra Example 1: Complete the Table6:09
- Extra Example 2: Find the Ratios of the Perimeter and Area of the Similar Figures8:56
- Extra Example 3: Find the Unknown Area12:04
- Extra Example 4: Use the Given Area to Find AB14:26
38m 40s
- Intro0:00
- Length Probability Postulate0:05
- Length Probability Postulate0:06
- Are Probability Postulate2:34
- Are Probability Postulate2:35
- Are of a Sector of a Circle4:11
- Are of a Sector of a Circle Formula4:12
- Are of a Sector of a Circle Example7:51
- Extra Example 1: Length Probability11:07
- Extra Example 2: Area Probability12:14
- Extra Example 3: Area Probability17:17
- Extra Example 4: Area of a Sector of a Circle26:23
23m 39s
- Intro0:00
- Polyhedrons0:05
- Polyhedrons: Definition and Examples0:06
- Faces1:08
- Edges1:55
- Vertices2:23
- Solids2:51
- Pyramid2:54
- Cylinder3:45
- Cone4:09
- Sphere4:23
- Prisms5:00
- Rectangular, Regular, and Cube Prisms5:02
- Platonic Solids9:48
- Five Types of Regular Polyhedra9:49
- Slices and Cross Sections12:07
- Slices12:08
- Cross Sections12:47
- Extra Example 1: Name the Edges, Faces, and Vertices of the Polyhedron14:23
- Extra Example 2: Determine if the Figure is a Polyhedron and Explain Why17:37
- Extra Example 3: Describe the Slice Resulting from the Cut19:12
- Extra Example 4: Describe the Shape of the Intersection21:25
38m 50s
- Intro0:00
- Prisms0:06
- Bases0:07
- Lateral Faces0:52
- Lateral Edges1:19
- Altitude1:58
- Prisms2:24
- Right Prism2:25
- Oblique Prism2:56
- Classifying Prisms3:27
- Right Rectangular Prism3:28
- 4:55
- Oblique Pentagonal Prism6:26
- Right Hexagonal Prism7:14
- Lateral Area of a Prism7:42
- Lateral Area of a Prism7:43
- Surface Area of a Prism13:44
- Surface Area of a Prism13:45
- Cylinder16:18
- Cylinder: Right and Oblique16:19
- Lateral Area of a Cylinder18:02
- Lateral Area of a Cylinder18:03
- Surface Area of a Cylinder20:54
- Surface Area of a Cylinder20:55
- Extra Example 1: Find the Lateral Area and Surface Are of the Prism21:51
- Extra Example 2: Find the Lateral Area of the Prism28:15
- Extra Example 3: Find the Surface Area of the Prism31:57
- Extra Example 4: Find the Lateral Area and Surface Area of the Cylinder34:17
26m 10s
- Intro0:00
- Pyramids0:07
- Pyramids0:08
- Regular Pyramids1:52
- Regular Pyramids1:53
- Lateral Area of a Pyramid4:33
- Lateral Area of a Pyramid4:34
- Surface Area of a Pyramid9:19
- Surface Area of a Pyramid9:20
- Cone10:09
- Right and Oblique Cone10:10
- Lateral Area and Surface Area of a Right Cone11:20
- Lateral Area and Surface Are of a Right Cone11:21
- Extra Example 1: Pyramid and Prism13:11
- Extra Example 2: Find the Lateral Area of the Regular Pyramid15:00
- Extra Example 3: Find the Surface Area of the Pyramid18:29
- Extra Example 4: Find the Lateral Area and Surface Area of the Cone22:08
21m 59s
- Intro0:00
- Volume of Prism0:08
- Volume of Prism0:10
- Volume of Cylinder3:38
- Volume of Cylinder3:39
- Extra Example 1: Find the Volume of the Prism5:10
- Extra Example 2: Find the Volume of the Cylinder8:03
- Extra Example 3: Find the Volume of the Prism9:35
- Extra Example 4: Find the Volume of the Solid19:06
22m 2s
- Intro0:00
- Volume of a Cone0:08
- Volume of a Cone: Example0:10
- Volume of a Pyramid3:02
- Volume of a Pyramid: Example3:03
- Extra Example 1: Find the Volume of the Pyramid4:56
- Extra Example 2: Find the Volume of the Solid6:01
- Extra Example 3: Find the Volume of the Pyramid10:28
- Extra Example 4: Find the Volume of the Octahedron16:23
14m 46s
- Intro0:00
- Special Segments0:06
- Radius0:07
- Chord0:31
- Diameter0:55
- Tangent1:20
- Sphere1:43
- Plane & Sphere1:44
- Hemisphere2:56
- Surface Area of a Sphere3:25
- Surface Area of a Sphere3:26
- Volume of a Sphere4:08
- Volume of a Sphere4:09
- Extra Example 1: Determine Whether Each Statement is True or False4:24
- Extra Example 2: Find the Surface Area of the Sphere6:17
- Extra Example 3: Find the Volume of the Sphere with a Diameter of 20 Meters7:25
- Extra Example 4: Find the Surface Area and Volume of the Solid9:17
16m 6s
- Intro0:00
- Scale Factor0:06
- Scale Factor: Definition and Example0:08
- Congruent Solids1:09
- Congruent Solids1:10
- Similar Solids2:17
- Similar Solids2:18
- Extra Example 1: Determine if Each Pair of Solids is Similar, Congruent, or Neither3:35
- Extra Example 2: Determine if Each Statement is True or False7:47
- Extra Example 3: Find the Scale Factor and the Ratio of the Surface Areas and Volume10:14
- Extra Example 4: Find the Volume of the Larger Prism12:14
14m 12s
- Intro0:00
- Transformation0:04
- Rotation0:32
- Translation1:03
- Reflection1:17
- Dilation1:24
- Transformations1:45
- Examples1:46
- Congruence Transformation2:51
- Congruence Transformation2:52
- Extra Example 1: Describe the Transformation that Occurred in the Mappings3:37
- Extra Example 2: Determine if the Transformation is an Isometry5:16
- Extra Example 3: Isometry8:16
23m 17s
- Intro0:00
- Reflection0:05
- Definition of Reflection0:06
- Line of Reflection0:35
- Point of Reflection1:22
- Symmetry1:59
- Line of Symmetry2:00
- Point of Symmetry2:48
- Extra Example 1: Draw the Image over the Line of Reflection and the Point of Reflection3:45
- Extra Example 2: Determine Lines and Point of Symmetry6:59
- Extra Example 3: Graph the Reflection of the Polygon11:15
- Extra Example 4: Graph the Coordinates16:07
18m 43s
- Intro0:00
- Translation0:05
- Translation: Preimage & Image0:06
- Example0:56
- Composite of Reflections6:28
- Composite of Reflections6:29
- Extra Example 1: Translation7:48
- Extra Example 2: Image, Preimage, and Translation12:38
- Extra Example 3: Find the Translation Image Using a Composite of Reflections15:08
- Extra Example 4: Find the Value of Each Variable in the Translation17:18
21m 26s
- Intro0:00
- Rotations0:04
- Rotations0:05
- Performing Rotations2:13
- Composite of Two Successive Reflections over Two Intersecting Lines2:14
- Angle of Rotation: Angle Formed by Intersecting Lines4:29
- Angle of Rotation5:30
- Rotation Postulate5:31
- Extra Example 1: Find the Rotated Image7:32
- Extra Example 2: Rotations and Coordinate Plane10:33
- Extra Example 3: Find the Value of Each Variable in the Rotation14:29
- Extra Example 4: Draw the Polygon Rotated 90 Degree Clockwise about P16:13
37m 6s
- Intro0:00
- Dilations0:06
- Dilations0:07
- Scale Factor1:36
- Scale Factor1:37
- Example 12:06
- Example 26:22
- Scale Factor8:20
- Positive Scale Factor8:21
- Negative Scale Factor9:25
- Enlargement12:43
- Reduction13:52
- Extra Example 1: Find the Scale Factor16:39
- Extra Example 2: Find the Measure of the Dilation Image19:32
- Extra Example 3: Find the Coordinates of the Image with Scale Factor and the Origin as the Center of Dilation26:18
- Extra Example 4: Graphing Polygon, Dilation, and Scale Factor32:08
For more information, please see full course syllabus of Geometry
Geometry Volume of Pyramids and Cones
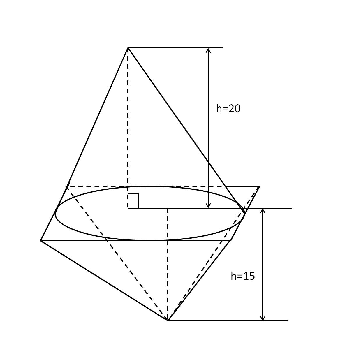
In this lesson, we are going to go over volume of cones. Remember that volume is how much space is inside the actual solid. The volume of a cone is one third of area of base times the height. Since the base is the circle, we'll use the area of a circle here. For a pyramid, it's actually exactly the same formula, one third of area of a base times the height. The base is a polygon, so if it is a square we'll use the area of a square. You'll practice solving problems that involve finding the volume of different solids.
Share this knowledge with your friends!
Copy & Paste this embed code into your website’s HTML
Please ensure that your website editor is in text mode when you paste the code.(In Wordpress, the mode button is on the top right corner.)
- - Allow users to view the embedded video in full-size.









































Answer Engine


Find the volume of the tetrahedron, the base ABC is a equilateral traingle, the length of each side is 8, the height of the tetrahedron is 9. 



0 answers
Post by Christopher Wang on April 9, 2019
Isn't a cone just a circular pyramid?
0 answers
Post by Professor Pyo on August 2, 2013
*NOTICE* THERE IS A MISTAKE IN EXAMPLE IV
The height is NOT 10, it is 7.1! It would not be 8.7 because the height has to be the measure that is going straight down to be perpendicular to the base. In this example, I meant for 8.7 to be what's called the "slant height," where it is the height of the triangle face (notice how it's slanted) and not the height of the actual pyramid.
In the case you are given a "slant height" instead of the actual height, you would have to use pythagorean theorem (refer to the red triangle in the pyramid that I drew). The "slant height" of 8.7 would be the hypotenuse, 5 would be one side (since it's half the side of the square), and the actual height would be the unknown side.
h^2 + 5^2 = 8.7^2
h = 7.1
SO the correct volume of the octahedron:
V = (1/3)(10)(10)(7.1) (2)
V = 473.3 cm^3
Hope this clears up the mistake! I apologize for the confusion!! (Sigh, wish I was perfect and never made any mistakes.) =/
1 answer
Fri Aug 2, 2013 3:22 AM
Post by Norman Cervantes on June 29, 2013
I think you made a mistake in the fourth example. you said v=(1/3)(10)(10)(10) the last ten being the height which should be 8.7 instead am i right?